原标题: 江苏博云 财报疑云:毛利率 异常拔高, 持续高比例分红被禁锢追问


花朵财经原创
上市未满一年,大额分红却已举办多达两次。
3月2日,深交所向江苏博云下发存眷函,要求公司说明上市后持续举办高比例分红的原因和须要性,是否存在通过现金分红向主要股东输送好处的景象。
梳剃头明,江苏博云此举绝大部门资金也简直流入了公司高层腰包。除此之外,持续释放利好动静,背后似乎还大概存在市值维护的意图。
并且在策划进程中,公司对前五大客户的销售额太过依赖问题也较量突出,期间异常拔高的毛利率,同时引起财政造假意料。
高比例分红存疑
跟着年报季来袭,江苏博云本年的高分红、高送转好像来得有些激烈。
2月28日,江苏博云披露2021年年报,实现营收7.02亿元,同比增长54.19%;实现归母净利润1.35亿元,同比增长21.75%。
在取得较高业绩表示之际,江苏博云同步宣布了2021年利润分派及成本公积转增股本预案。拟向全体股东每10股派现金红利10.00元(含税);每10股转增7股。
然而其实在刚已往的中报,2021年8月,江苏博云也宣布了半年度分红预案,拟每10股派发明金红利10元(含税)。以此推算,江苏博云2021年累计分派现金股利高达1.17亿元,约占当期归母净利润的86.34%。
由于刚上市不久,便接连推出高比例分红,江苏博云很快受到了禁锢部分的存眷。
3月2日,深交所向江苏博云下发存眷函,要求公司团结日常运营所需资金局限,募投项目建树环境及将来重大资金支出布置,主要股东持股比例及财政状况等,说明2021年半年度及年度利润分派比例简直定依据及公道性,是否存在通过现金分红向主要股东输送好处的景象。
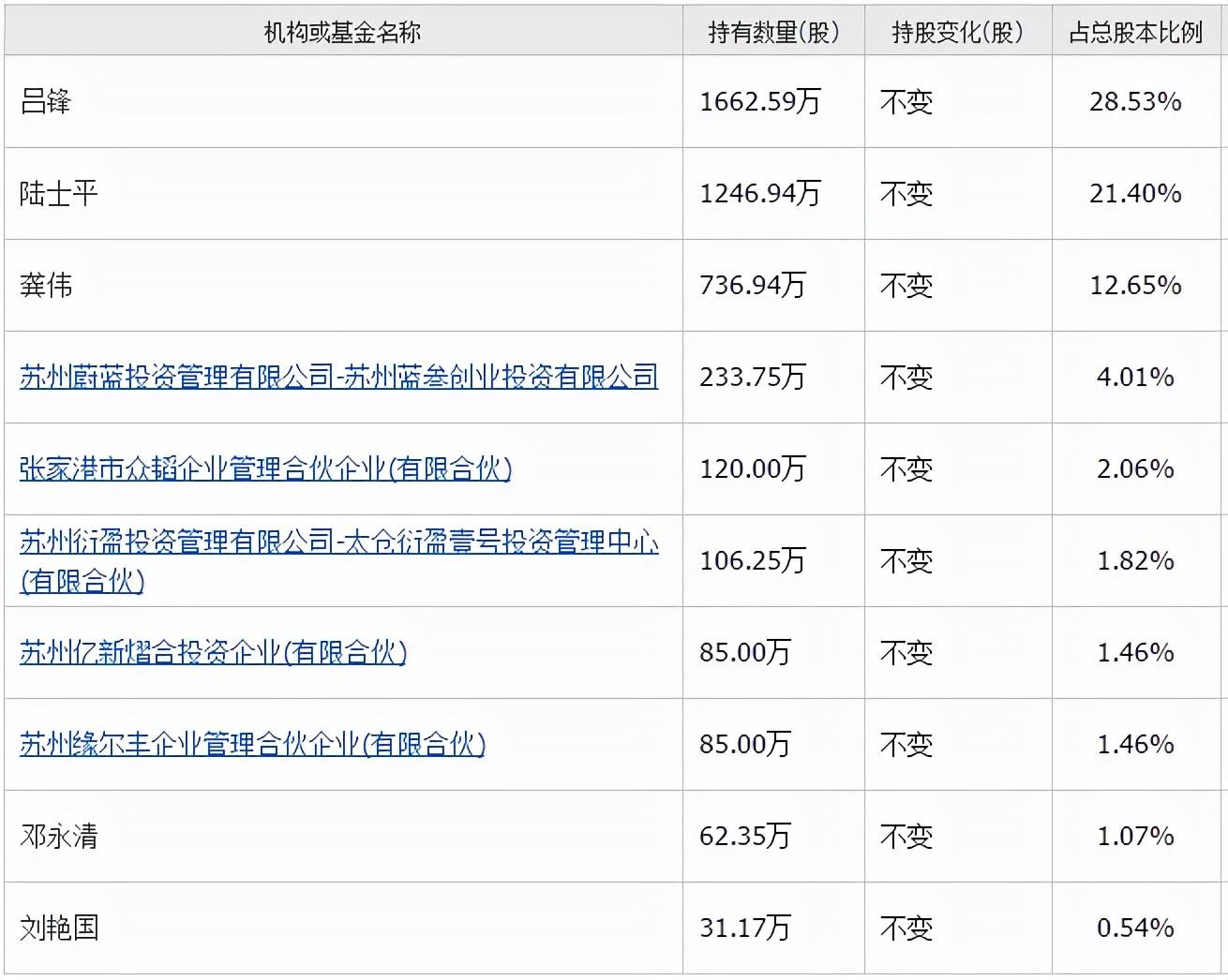
数据显示,停止2021年底,前十大股东累计持有江苏博云4369.99万股,占总股本比高达75%。个中,公司董事长吕锋、原董事陆士平、原监事会主席龚伟累计对公司持有3646.47万股,占总股本比62.58%。

也就是说,江苏博云持续举办高比例分红的资金绝大部门流入了公司高层腰包。
其实早在2017至2018年,公司就曾与吕锋、陆士平、龚伟存在资金拆借的财政内控不类型景象。2017年,吕锋、陆士平、龚伟别离因小我私家消费等原因向公司拆借92.92万元、673.25万元、272.15万元。
站在市值角度思考,江苏博云持续推出高比例分红,背后的市值维护意图仿佛也较量浓厚。
招股说明书显示,江苏博云境内上市刊行股数为1456.67万股,本次果真刊行后的畅通股数量占刊行人股份总数的比例为25%,每股刊行价值为55.88元。
然而上市成长至今,江苏博云股价已经经验了多次破发,最低股价低至48.90元/股。停止3月3日,江苏博云收盘报价为60.40元/股,间隔刊行价值也仍较量靠近。
东财Choice数据显示,2022年6月1日,公司将迎来首发原股东限售股份解禁,估量切合解禁条件的有1247万股,占总股本比例21.40%,解禁股占畅通股本比例 85.60%。
团结各种,在股价低迷期间,江苏博云接连推出高比例分红释放利好动静刺激股价,是真想回馈股东,照旧为未来首发原股东限售股份解禁套现做筹备呢?
多处财政数据与高毛利产生斗嘴
从财报上看,最近几年江苏博云业绩颇具看点,但客户相对会合问题以及高毛利存疑问题分外引人瞩目。
据相识,江苏博云创立于2006年,于2021年6月1日在深交所上市,主营业务为改性塑料产物的研发、出产和销售。主要产物包罗高机能改性尼龙、高机能改性聚酯、工程化聚烯烃及色母粒和成果性母粒等。
2018至2021年,江苏博云实现营收别离为3.86亿元、3.82亿元、4.55亿元、7.02亿元,归母净利润别离为4424.72万元、7719.45万元、1.11亿元、1.35亿元,业绩整体呈一连高增长态势。
但公司客户相对较为会合。招股说明书显示,2018至2020年陈诉期内,公司对前五大客户的销售额合计占营业收入比例别离为68.46%、70.39%、68.68%;个中,对第一大客户史丹利百得的销售额占比别离为39.00%、39.97%、40.59%。
比拟发明,公司客户会合度同时远高于同行业上市公司。2018至2020年陈诉期内,同行业上市公司前五大客户占比行业平均值别离仅为25.16%、28.16%、17.80%。

由于太过依赖单一客户, 重庆旅游攻略,江苏博云销售区域性特征也较量明明。2021年,仅华东地域便占了公司营业收入比重75.73%的份额,当期实现营收为5.31亿元。
免责声明:本站部分内容及图片来源于网络,是出于传递更多信息之目的,仅供参考。如发现网站上有侵犯您的知识产权的作品,请与我们联系,我们将及时更正、删除,谢谢!


