原标题:携 妻儿 违规举牌遭惩罚,前“ 福建首富”陈发树的退与进

陈发树不断转换赛道
作者 | 刘钦文
编辑丨缪凌云
来历 | 野马财经
七年前, 百度小说,陈发树为了买入云南白药(000538.SZ)险些变卖或抵押了本身名下的所有资产,另一边本身手中的新华都吃亏不断、闭店不止。七年后的本日,陈发树选择再次携妻儿一起买入森特股份,同时剥离新华都零售业务。
因为一连买入森特股份(603098.SH),持股比例高出5%却未举办通告,陈发树等人于3月23日收到北京证监局出具的警示函行政禁锢法子。七年前陈发树猖獗买入的云南白药如今面对转型阵痛,七年后猖獗买入森特股份能让陈发树重回光辉吗?
花10余亿元买入森特股份为哪般?
此次陈发树违规增持森特股份的行为还要追溯到2021年12月。
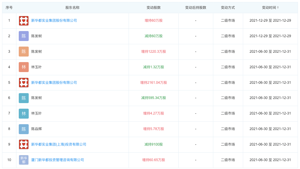
首先,陈发树及其夫人林玉叶、儿子陈焱辉,新华都团体及旗下两家子公司为森特股份股东的一致行感人,2021年12月6日,陈发树名下证券账户连续买入150万股森特股份股票,导致上述一致行感人合计持股比例由4.78%上升至5.06%。

图源:北京证监局
凭据划定,持股比例高出5%应在3日内举办通告,但陈发树等人并未举办通告,而是继承买入,随后最高至5.2%。
直到2021年12月29日收盘后,陈发树收到短信提示风险。新华都举办自查,声称在自查进程中发明,由于疏忽,漏掉计较了陈发树小我私家购置的216.29万股森特股份股票,致使呈现了在12月6日当天合计持股比例高出5%的环境,暗示诚挚歉意。
经计较,12月6日至12月29日共18个生意业务日,个中11个生意业务日为下跌,7个为上涨,累计下跌12.52%。
事实上,陈发树等人自2021年6月30日起就连续在二级市场上交易森特股份的股票。果真信息显示,陈发树等人共计购置了森特股份2799.34万股。期间森特股份股价为38.79元/股-42.76元/股,按此计较,陈发树为购置森特股份要耗费10.85亿元-11.96亿元。

陈发树为何选择增持森特股份?事实上,森特股份可谓是2021年十足的“大牛股”,从年头每股最低的7.74元,一路涨至11月最高时的54.93元,股价涨幅约7倍,全年累计涨幅达477.03%。
森特股份主营产物为金属修建围护系统公司,客户包罗疾驰、宝马、雄安站、北京大兴国际机场、成都天府国际机场,甚至尚有马尔代夫机场、沙特船坞。去年还接了香港机场,中标金额7.1亿港元(折合人民币5.77亿元)。
2020年森特股份进军BIPV(光伏修建一体化)板块,俗称光伏屋顶,该板块也被纳入“双碳”观念。据天风证券测算,我国潜在装机局限为245 GW,以5.5元/w价值计较,市场空间将达1.3万亿元;长江证券则凭据15%市场渗透率,计较出总发电功率为7.1亿KW,对应的市场局限达3.9万亿元。
光伏板块的切入也吸引了全球光伏巨头隆基股份的留意,2021年3月,隆基股份收购森特股份27.25%股权,成为公司第二大股东。
光伏巨头入股的动静发布之后,森特股份的股价开启一路向上的走势,相助也继续不停。2021年1-9月,森特股份累计承接新业务(含中标)127项,金额达34.33亿元,累计新签条约90项,条约金额21.60亿元,。个中,7-9月共累计承接新业务(含中标)43项,承接新业务金额达17.57亿元,新签条约22项,累计条约金额8.42亿元,
相助者不乏简一团体、三棵树团体、徐工团体、山重团体等知名企业。
一边买买买,一边卖卖卖
作为知名牛散的陈发树,今朝是新华都(002264.SZ)实际节制人,同时通过直接和间接两种方法,位列云南白药(000538.SZ)、隆基股份(601012.SH)、中国中免(601888.SH)、必创科技(300667.SZ)、久日新材(688199.SH)雷电微力(301050.SZ)、森特股份(603098.SH)7家A股公司的前十大股东。
陈发树一边买入森特股份,另一边却在脱手卖出新华都的部门资产。

野马财经制图
2021年11月25日,新华都宣布通告暗示,拟出售零售业务板块的全部资产和欠债,共涉及11座购物广场和一家物流公司的部门股权。停止2021年9月30日,11家子公司总资产为25.99亿元。该生意业务也激发深交所存眷,向其下发问询函。
免责声明:本站部分内容及图片来源于网络,是出于传递更多信息之目的,仅供参考。如发现网站上有侵犯您的知识产权的作品,请与我们联系,我们将及时更正、删除,谢谢!


