原标题:味千 拉面欠税28万超 2年,曾被 多次催缴
2月21日,据企查查APP显示,味千拉面饮食服务(深圳)有限公司新增一则欠税公告。
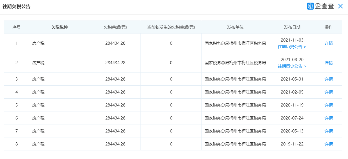
公告显示,味千拉面欠税金额已超28万元。欠税税种为房产税,发布单位为国家税务总局梅州市梅江区税务局。
值得注意的是,《财经天下》周刊发现,这笔欠税是从2019年拖欠至今,且被多次催缴。
作为一家专注骨汤拉面产品的企业, 关岛旅游网,于1968年创始于日本,1996年引入中国,进入中国内地市场20多年后,已坐拥超700家门店。
二级市场方面,味千拉面已成“昨日黄花”,截至今日收盘,味千拉面报1.27港元/股,总市值13.86亿港元,和2011年最高点11.76港元/股相比,已跌去了近90%。(文| 《财经天下》周刊 天宇)

免责声明:本站部分内容及图片来源于网络,是出于传递更多信息之目的,仅供参考。如发现网站上有侵犯您的知识产权的作品,请与我们联系,我们将及时更正、删除,谢谢!


