捧得有多高,摔下来就有多疼。
据《查看日报》官方公家号一则文章显示,克日,坐拥400万粉丝的金融大V被公诉。据《北京青年报》报道,该金融大V即是徐晓峰,其微博内容最后一条更新逗留在2021年7月7日。

截图来历:微博
在审查告状阶段,承办查看官将徐晓峰以涉嫌犯科策划罪、辅佐网络信息犯法勾当罪和虚假告白罪三罪提起公诉,徐某签署了认罪认罚具结书。
22岁那年,徐晓峰初入股市,因为做空赚到数亿元,2014年,徐晓峰低价入股南洋股份(现已改名为“天融信”,002212.SZ),一年赚到80%的收益,从此逐渐成为备受投资者存眷的金融大V之一。
如今徐晓峰被提起公诉,运气如同过山车般急转直下,在这位大V的面具下,又是如何收割“韭菜”的呢?
1
私募大V徐晓峰“翻车”
《查看日报》披露的案件进程显示,查看院以及公安构造发明徐晓峰操作自身大V影响力,违法宣布虚假金融投资信息、明知宣布虚假告白导致他人受骗,仍然宣布沟通告白的犯法事实。另外,在审查告状阶段,承办查看官从告白清单、资金流水、谈天记录等方面同时入手,对涉案的60余条告白逐一举办梳理,筛选出个中的虚假告白。
后经与上海市市场禁锢局告白处相同,确认行政法上虚假告白的认定尺度,又增加了虚假告白罪,最终,承办查看官将徐晓峰以涉嫌犯科策划罪、辅佐网络信息犯法勾当罪和虚假告白罪三罪提起公诉。
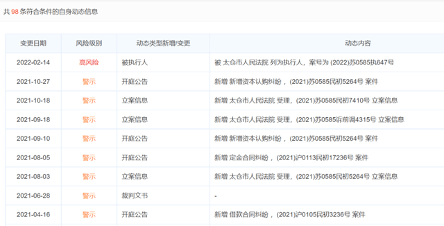
爱企查数据显示,徐晓峰共关联6家公司,别离是敦安资产打点(上海)有限公司、上海览领资产打点有限公司(下称“览领资产”)、敦汇财政咨询(苏州)有限公司、中明嘉业(上海)信息科技有限公司(下称“中明嘉业”)等,个中徐晓峰接受4家公司的法定代表人,在5家公司中持有股份。
徐晓峰存在多条周边风险信息。个中,览领资产曾因借钱条约纠纷被告状,并于本年2月23日被法院强制执行总金额高达103万余元,董事长徐晓峰被限制高消费。
据基金业协会数据,览领资产2015年9月2日在基金业协会挂号存案,公司打点局限在0~5亿之间。今朝,览领资产已被显示为“异常策划机构”。2021年2月2日,旗下私募基金“览领上海徐晓峰基金”份额净值低于止损线0.7元。按照产物条约约定,打点人览领资产于2021年2月5日抉择提前终止本产物的正常运作。
另外,徐晓峰接受董事的中明嘉业也存在多条诉讼案件、失信被执行人信息。

截图来历:爱企查
作为基金司理,徐晓峰打点的基金业绩惨不忍睹。为了给旗下私募基金产物宣传造势,2020年年底,徐晓峰曾在微博上给本身定下小方针,称“年化收益率30%以上,低于30%,浮现不出我这个老司机程度”,而2021年2月初,刚创立不到4个月的私募基金,净值跌去了47%。
2
从“播种”到“收割”,
徐晓峰犯科赢利上百万
知名财经博主“李三笑”曾果真举报徐晓峰违规宣传推介产物。李三笑在微博中称,私募基金不答允通过果真前言、方法,向不特定工具宣传推介,徐晓峰却在微博果真打告白宣传,并附上相关截图。


果真叫板徐晓峰的不止李三笑一小我私家,一名微博名为“股神孙钥洋”,粉丝数101万的博主发文质疑徐晓峰操作微博平台为骗财骗团伙做告白致使粉丝上当被骗。文章内里提到,徐晓峰多次通过本身的微博果真为假名为“蓝筹老刘”和“林近南”的人举办告白宣传,为二者的数字币和个股收费群引流。
龙岩旅游网,涉案资金1600余万元来自哪?" src="https://p2.itc.cn/images01/20220323/f1f158fe935c4e6a86b7d9eeef88f571.png" />
截图来历:微博
徐晓峰被公诉后,“股神孙钥洋”和“李三笑”二人在各自微博对此颁发了评论。前者称“徐晓峰案具体进程等宣判竣事”,后者称“我很侥幸为他坐牢出了一点点力”。

免责声明:本站部分内容及图片来源于网络,是出于传递更多信息之目的,仅供参考。如发现网站上有侵犯您的知识产权的作品,请与我们联系,我们将及时更正、删除,谢谢!


